液體用流量計
- 品*:JKM/凱銘儀表
- 型號:JKM-LDE
- 測量范圍:0.028~205258m3/h
- 精度等級:0.5級、1.0級
- 公稱通徑:DN10~DN2200
- 適用介質:污水、導電液體
- 工作壓力:1.6~6.3MPa
- 工作溫度:-20~+200℃
- 供電方式:220V 24V 鋰電池
- 訂貨號:VUJXBIKNU742
液體用流量計產品概述
液體用流量計工作原理
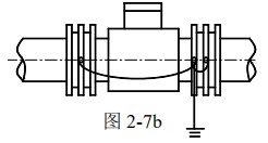
電磁流量計測量原理是基于法拉*電磁感應規律。流量計的測量管是一內襯絕緣材料的非導磁合金短管。兩只電極沿管徑方向穿通管壁固定在測量管上。其電極頭于襯里內表面基本齊平。勵磁線圈由雙向方波脈沖勵磁時,將在與測量管軸線垂直的方向上產生一磁通量密度為B的工作磁場。此時,如果具有一定電導率的流體流經測量管,將切割磁力線感應出電動勢E。電動勢E正比于磁通量密度B,測量管內徑d與平均流速 的乘積、電動勢E(流量信號)由電極檢出并通過電纜送至轉換器。轉換器將流量信號放大處理后,可顯示流體流量,并能輸出脈沖,模擬電流信號,用于流量的測量和控制。
式中: E---------為電極間的信號電壓(v)
B---------磁通密度(T)
d---------測量管內徑(m)
V--------平均流速(m/s)
K---------常數
由于K為常數,勵磁電流是恒流的,故B也是常數,則由(1-1)式可知,體積流量Q與信號電壓E成正比,即流速感應的信號電壓E與體積流量Q成線性關系。因此,只要測量出E就可確定流量Q,這就是電磁流量計的基本工作原理。
由(1-1)式可知,被測流體介質的溫度、密度、壓力、導電率、液固兩相流體介質的液固成分比等參數不會影響測量結果。至于流動狀態只要符合軸對稱流動(如層流或紊流)就不會影響測量結果的。因此說電磁流量計是一種真正的體積流量計。
液體用流量計產品特點
液體用流量計技術參數
1、公稱通徑(mm):管道式四氟襯里:DN10~DN600;管道式橡膠襯里:DN40~DN1200;(特殊規格可定制)
2、流動方向:正,反,凈流量;
3、量程比:150:1;
4、重復性誤差:測量值的±0.1%;
5、精度等級:管道式:0.5級,1.0級;
6、被測介質溫度:普通橡膠襯里:-20~+60℃;高溫橡膠襯里:-20~+90℃;聚四氟乙稀襯里:-30~+100℃;高溫型四氟襯里:-20~+180℃;
7、額定工作壓力:DN6-DN80:≤1.6MPa;DN100-DN250:≤1.0MPa;DN300-DN1200:≤0.6MPa;(高壓可定制);
8、流速范圍:0.1-15m/s;
9、電導率范圍:被測流體電導率≥5μs/cm;
10、電流輸出:0~10mA:0~1.5kΩ;4~200mA:0~750 kΩ;負載電阻;
11、數字輸出頻率:上限可在1~5000HZ之間;
12、數字輸出方式:輸出頻率內設定帶光電隔離的晶體管集電極開路雙向輸出;
13、集電極*大電流:外接電源≤35V導通時集電極*大電流為250mA;
14、供電電源:AC220V或DC24V;
15、要求直管段長度:上游≥5DN,下游≥2DN;
16、連接方式:流量計與配管之間均采用法蘭連接;
17、連接尺寸:法蘭連接尺寸應符合GB11988規定;
18、防爆等級:mdIIBT4;
19、防護等級:IP65,特殊訂制*高可達IP68;
20、環境溫度:-25~+60℃;
21、相對溫度:5%~95%;
22、消耗總功率:小于20W;
23、信號輸出:4-20mA(負載0-750Ω),脈沖/頻率,控制電平;
24、供電電源:AC220V,允差15%;或DC24V,紋波≤5%;
25、通訊輸出:RS 485,MODBUS協議,HART協議,Profibus-DP協議;
液體用流量計儀表選型
◆量程范圍確認
一般電磁流量計被測介質流速以2~4m/s為宜,在特殊情況下,*低流速應不小于0.2m/s,*高應不大于8m/s。若介質中含有固體顆粒,常用流速應小于3m/s,防止襯里和電極的過分磨擦;對于粘滯流體,流速可選擇大于2m/s,較大的流速有助于自動消除電極上附著的粘滯物的作用,有利于提高測量精度。
在量程Q已確定的條件下,即可根據上述流速V的范圍決定流量計口徑D的大小,其值由下式計算:
Q=πD2V/4
Q:流量(㎡/h) D:管道內徑 V:流速(m/h)
電磁流量計的量程Q應大于預計的*大流量值,而正常的流量值以稍大于流量計滿量程刻度的50為宜。
◆KM LDE系列電磁流量計參考流量范圍
口徑mm | 流量范圍m3/h | 口徑mm | 流量范圍m3/h |
Φ15 | 0.06~6.36 | Φ450 | 57.23~5722.65 |
Φ20 | 0.11~11.3 | Φ500 | 70.65~7065.00 |
Φ25 | 0.18~17.66 | Φ600 | 101.74~10173.6 |
Φ40 | 0.45~45.22 | Φ700 | 138.47~13847.4 |
Φ50 | 0.71~70.65 | Φ800 | 180.86~18086.4 |
Φ65 | 1.19~119.4 | Φ900 | 228.91~22890.6 |
Φ80 | 1.81~180.86 | Φ1000 | 406.94~40694.4 |
Φ100 | 2.83~282.60 | Φ1200 | 553.90~55389.6 |
Φ150 | 6.36~635.85 | Φ1600 | 723.46~72345.6 |
Φ200 | 11.3~1130.4 | Φ1800 | 915.62~91562.4 |
Φ250 | 17.66~176.25. | Φ2000 | 1130.4~113040.00 |
Φ300 | 25.43~2543.40 | Φ2200 | 1367.78~136778.4 |
Φ350 | 34.62~3461.85 | Φ2400 | 1627.78~162777.6 |
Φ400 | 45.22~4521.6 | Φ2600 | 1910.38~191037.6 |
液體用流量計襯里的選擇
襯里材料 | 主要性能 | *高介質溫度 | 適用范圍 | |
一體型 | 分離型 | |||
聚四氟乙烯(F4) | 是化學性能*穩定的一種塑料,能耐沸騰的鹽酸、硫酸、硝酸和王水,也能耐濃堿和各種有機溶劑。不耐三氟化氯、高溫三氟化氯、高流速液氟、液氧、自氧的腐蝕。 | 70℃ | 100℃ 150℃ (需特殊訂貨) | 1、濃酸、堿等強腐蝕性介質。 2、衛生類介質。 |
聚全氟乙丙烯(F46) | 同F4,耐磨性、抗負壓能力高于F4。 | 同上 | ||
聚氟合乙烯(Fs) | 適用溫度上限較聚四氟乙烯低,但成本也較低。 | 80℃ | ||
聚氯丁橡膠 | 1、有極好的彈性,高度的扯斷力,耐磨性能好。2、耐一般低濃度酸、堿、鹽介質的腐蝕,不耐氧化介質的腐蝕。 | 80℃ 120℃ (需特殊訂貨) | 水、污水、弱磨損性的泥漿礦漿。 | |
聚氨酯橡膠 |
1、耐磨性能極強。 2、耐腐蝕性能較差。 | 80℃ | 中性強磨損的礦漿、煤漿、泥漿 |
液體用流量計電極的選擇
電極材料 | 耐蝕及耐磨性能 |
不銹鋼0Crl8Nil2M02Ti | 用于工業用水、生活用水、污水等具有弱腐蝕性的介質,適用于石油、化工、鋼鐵等工業部門及,市政、環保等領域。 |
哈氏合金B | 對沸點以下的一切濃度的鹽酸有良好的耐蝕性,也耐硫酸、磷酸、氫氟酸、有機酸等非氯化性酸、堿,非氧化性鹽液的腐蝕。 |
哈氏合金C | 能耐非氧化性酸,如硝酸、混酸、或鉻酸與硫酸的混合介質的腐蝕,也耐氧化性鹽類如:Fe,Cu下或含其他氧化劑的腐蝕,如高于常溫的次氯酸鹽溶液、海水的腐蝕 |
鈦 | 能耐海水、各種氯化物和次氯酸鹽、氧化性酸(包括發煙硫酸)、有機酸、堿的腐蝕。不耐較純的還原性酸(如硫酸、鹽酸)的腐蝕,但如酸中含有氧化劑(如硝酸、Fc++、Cu++)時,則腐蝕大為降低。 |
鉭 | 具有優良的耐蝕性和玻璃很相似。除了氫氟酸、發煙硫酸、堿外,幾乎能耐一切化學介質(包括沸點的鹽酸、硝酸和l 50℃以下的硫酸)的腐蝕。在堿中刁;耐蝕。 |
鉑/鈦合金 | 幾乎能耐一切化學介質,但不適用于王水和銨鹽。 |
不銹鋼涂覆碳化鎢 | 用于無腐蝕性,強磨損性的介質。 |
注: 由于介質種類繁多,其腐蝕性又受溫度、濃度、流速等復雜因素影響而變化,故本表僅供參考。用戶應根據實際情況自己做出選擇,必要時應做擬選材料的耐腐試驗,如掛片試驗。 |
液體用流量計型譜
型號 | 口徑 | ||||||||
KMLD | 15~2600 | ||||||||
代號 | 安裝形式 | ||||||||
Y | 一體式 | ||||||||
F | 分體式 | ||||||||
代號 | 轉換器型號 | ||||||||
ZA | 圓形 | ||||||||
ZB | 方形 | ||||||||
代號 | 輸出信號 | ||||||||
I.4 | 4~20mA | ||||||||
f | 頻率 1KHz | ||||||||
Rs | 串行通訊(485) | ||||||||
C | 控制輸出 | ||||||||
代號 | 防爆要求 | ||||||||
N | 無防爆 | ||||||||
EX | 防爆(僅適用于分體式) | ||||||||
代號 | 介質溫度 | ||||||||
T1 | ≤65℃ | ||||||||
T2 | ≤120℃ | ||||||||
T3 | ≤180℃(僅適用于分體式) | ||||||||
代號 | 內襯材質 | ||||||||
NE | 氯丁橡膠(≤65℃) | ||||||||
PTFE | 聚四氟乙烯(≤189℃) | ||||||||
PVC | 聚氯乙烯(≤70℃) | ||||||||
代號 | 電極材質 | ||||||||
316L | 不銹鋼 | ||||||||
HC | 哈氏合金C | ||||||||
HB | 哈氏合金B | ||||||||
Ti | 鈦 | ||||||||
Ta | 鉭 |















上一篇:高溫液體流量計|分體電磁式
下一篇:大口徑液體流量計|插入電磁式